Η νέα πατέντα της BMW δείχνει έναν μονοκύλινδρο κινητήρα με σύστημα μεταβλητού χρονισμού βαλβίδων Shiftcam, που θα μπορούσε να φορεθεί στη σειρά G, με αυξημένες επιδόσεις και πιο γεμάτη καμπύλη ιπποδύναμης.
Η τεχνολογία Shiftcam έχει φορεθεί σε Boxer μοντέλα (R 1250 GS / R 1250 R) αλλά και στις τετρακύλινδρες μοτοσυκλέτες της BMW (S 1000 RR / M 1000 RR), ενώ λειτουργεί με τον ίδιο τρόπο και στον μονοκύλινδρο κινητήρα της πατέντας των Βαυαρών, αλλάζοντας τον χρονισμό σε συγκεκριμένες στροφές με έναν έξυπνο όσο και απλό μηχανισμό, που δεν προσθέτει ιδιαίτερο βάρος ή επικίνδυνη για την αξιοπιστία πολυπλοκότητα.
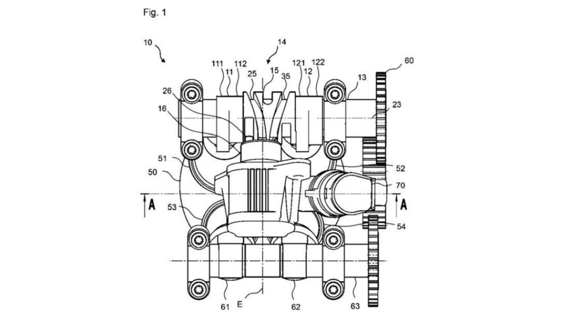
Στην πατέντα περιγράφεται η νέα θέση του συστήματος στη μικρή κυλινδροκεφαλή του μονοκύλινδρου κινητήρα, με τον ενεργοποιητή του Shiftcam να βρίσκεται στη μέση αντί για το πλάι, για οικονομία χώρου.
Η νέα θέση απαιτεί μπουζί που προεξέχει υπό γωνία στον θάλαμο καύσης, καθώς το πηνίο της ανάφλεξης βρίσκεται κι αυτό υπό γωνία στον θάλαμο καύσης.
Μία ακόμη διαφορά σε σχέση με τα πολυκύλινδρα μοντέλα είναι πως οι οι βαλβίδες ενεργοποιούνται χρησιμοποιώντας ποτηράκια και καπελώτα, και όχι με κοκοράκια.
Στους μεγάλους boxer κινητήρες τα 2 διαφορετικά προφίλ των εκκεντροφόρων αλλάζουν ανάλογα με το φορτίο και την ταχύτητα του κινητήρα, το αργότερο μέχρι τις 5.000 rpm. Στα τετρακύλινδρα χιλιάρια η αλλαγή γίνεται στις 9.000 rpm. Αν υποθέσουμε πως η αλλαγή γίνεται περίπου στα δύο τρίτα των στροφών που αποδίδεται η μέγιστη ιπποδύναμη, τότε στην μονοκύλινδρη έκδοση η ενεργοποίηση του συστήματος πιθανώς να συμβαίνει κοντά στις 6.000 rpm.
Η τρέχουσα σειρά G (G 310 R & G 310 GS) κινείται από έναν μονοκύλινδρο κινητήρα 313 κ.εκ., με απόδοση 34 hp / 9.250 rpm και ροπή 2,8 kgm / 7.500 rpm. Η σειρά έκανε ντεμπούτο το 2015, ενώ η παραγωγή γίνεται στο εργοστάσιο της TVS στην Ινδία.
Κι αν τα δύο G μοντέλα υστερούσαν -και υστερούν ακόμα- στην απόδοση σε σχέση με τον ανταγωνισμό, η τεχνολογία Shiftcam θα μπορούσε να δώσει στη BMW το κάτι παραπάνω σε επιδόσεις, αν και δεν θα μας χάλαγε και μια (έστω μικρή) αύξηση στον κυβισμό.
Σημειώστε τέλος πως στην πατέντα φαίνεται να διατηρείται η ιδιαίτερη τοποθέτηση του κινητήρα της G σειράς, με την εξαγωγή προς το πίσω μέρος της μοτοσυκλέτας






