Σε μια νέα πατέντα που κατάθεσε η Suzuki βλέπουμε τα σχέδια ενός οικονομικού τρίτροχου οχήματος με τις δυο ρόδες μπροστά, το οποίο θα εφοδιάζεται με κινητήρα από scooter 125 κ. εκ., θα έχει θέση οδήγησης που θυμίζει καρτ και θα παίρνει κλίσεις στις στροφές, σαν τα γνωστά μας MP3, Tricity και NIKEN.
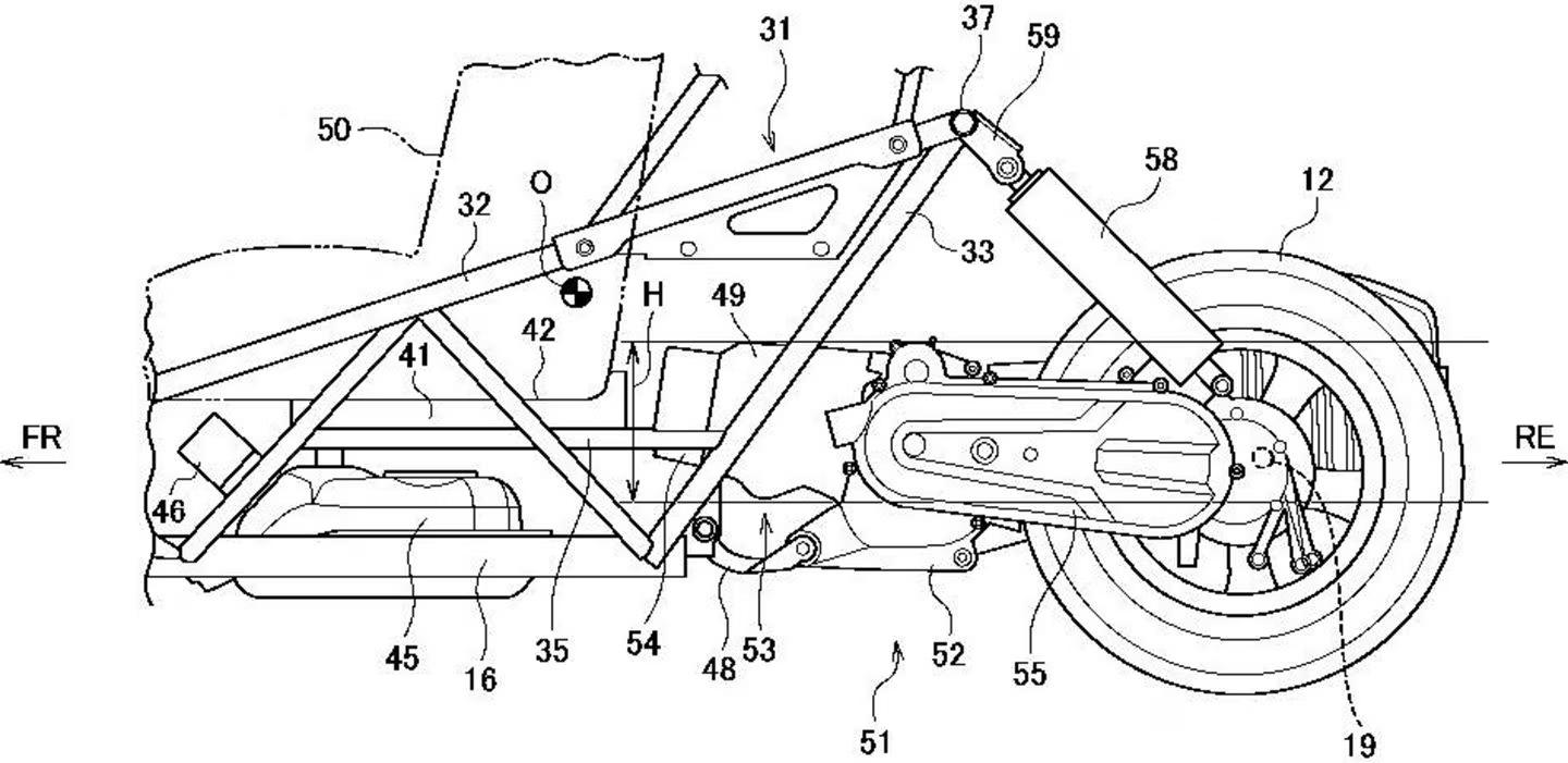
Το εν λόγω τρίτροχο όχημα της Suzuki οπτικά μοιάζει αρκετά με το Polaris Slingshot -το οποίο όμως έχει το μειονέκτημα πως δεν είναι τεχνολογίας Leaning Wheel-, ενώ το μοντέλο των πατεντών είναι σχεδιασμένο για έναν μόνο αναβάτη / οδηγό, ο οποίος θα βρίσκεται στο κέντρο και θα περιβάλλεται από έναν κλωβό ασφαλείας. Ο οδηγός θα έχει στη διάθεση του ένα συμβατικό τιμόνι μοτοσυκλέτας ενώ το τρίτροχο scooter θα παίρνει κλίσεις στις στροφές, δίνοντας έτσι αίσθηση μοτοσυκλέτας και μεγιστοποιώντας κράτημα και οδική ασφάλεια. Ο άξονας περιστροφής του οχήματος για να μπορεί να παίρνει κλίσεις βρίσκεται μπροστά από τον κινητήρα.

Ο κινητήρας που φορά το concept στις πατέντες προέρχεται από scooter 125 κ. εκ., κάτι που μαζί με το ταμπούρο πίσω και το απλό αμορτισέρ χωρίς μοχλικό υποδηλώνουν και την κατεύθυνση του Hamamatsu για ένα οικονομικό Α1 όχημα, και όχι για μια πλατφόρμα επιδόσεων -τουλάχιστον όχι στη συγκεκριμένη μορφή. Άλλωστε και η ίδια η ιαπωνική εταιρεία περιγράφει στις πατέντες το όχημα ως “απλό και οικονομικό”, στοχεύοντας σε αρχάριους αναβάτες / οδηγούς αυτοκινήτου που δεν θα αγόραζαν ένα δίτροχο 125 αλλά θα έμπαιναν σε πειρασμό από την έξτρα ασφάλεια των Leaning Wheel τρίκυκλων οχημάτων.

Το χαμηλό κέντρο βάρους του οχήματος δίνει έξτρα πόντους στην ασφάλεια, όμως ταυτόχρονα βάζει τον οδηγό σε θέση κοντά στους προφυλακτήρες των αυτοκινήτων, μειώνοντας και την ορατότητα του.

