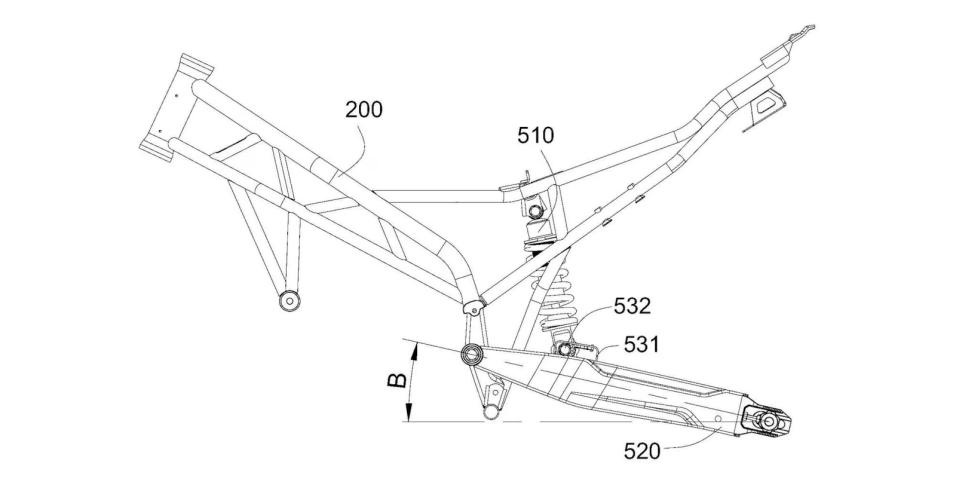
Επικαιρότητα 30/9/2024 CFMOTO - Νέα πατέντα για πίσω ανάρτηση μοτοσυκλέτας Η CFMOTO ψάχνεται τον τελευταίο καιρό με την εξέλιξη των αναρτήσεων των μοτοσυκλετών της με νέες πατέντες που βλέπουν το φως της δημοσιότητας να δίνουν έμφαση αυτή τη φορά στον πίσω τροχό. Διαθέτον...