Σύμφωνα με πατέντες που δημοσιεύτηκαν, η BMW εργάζεται πάνω στην δημιουργία ενός monocoque πλαισίου για ηλεκτρικές μοτοσυκλέτες, το οποίο θα χρησιμοποιεί την θήκη της μπαταρίας ως φέρον τμήμα του, προσφέροντας διάφορα πλεονεκτήματα, όσον αφορά την διάταξη και την χρήση σε διαφορετικού τύπου μοντέλα, χωρίς να απαιτούνται σημαντικές μετατροπές.
Οι Βαυαροί έχουν εδώ και χρόνια αρχίσει να ασχολούνται με την ηλεκτροκίνηση, τόσο στα αυτοκίνητα, όσο και στις μοτοσυκλέτες. Ήδη, στην γκάμα της υπάρχουν τα ηλεκτρικά σκούτερ CE 04 και CE 02 μαζικής παραγωγής, τα οποία έχουν προκύψει από το περιορισμένης παραγωγής C evolution. Το πρώτο ηλεκτρικό σκούτερ της BMW μετρά ήδη σχεδόν μία δεκαετία, πολύ πριν οι υπόλοιποι μεγάλοι κατασκευαστές αρχίσουν να ασχολούνται με την ηλεκτροκίνηση.

Μέχρι στιγμής, όμως, το μόνο που έχουμε δει από το Μόναχο όσον αφορά τις ηλεκτρικές μοτοσυκλέτες περιορίζεται στο concept Vision DC, ένα roadster που μας έδειξε για πρώτη φορά το 2019. Το συγκεκριμένο πρωτότυπο κατάφερνε να υιοθετήσει το εκκεντρικό σχεδιασμό, παραμένοντας ταυτόχρονα κοντά με αυτόν των boxer μοντέλων της. Μάλιστα, ο σχεδιασμός της μπαταρίας και του κινητήρα έγιναν με στόχο να θυμίζουν την εν λόγω διάταξη που χρησιμοποιεί η BMW στους μεγάλους θερμικούς κινητήρες της.

Από τότε μπήκε αρκετό νερό στο αυλάκι, καθώς η ηλεκτροκίνηση έχει αρχίσει να μπαίνει για τα καλά στην ζωή μας, με πολλές ευρωπαϊκές πόλεις να απαγορεύουν ακόμη και την είσοδο οχημάτων με θερμικό κινητήρα σε οριοθετημένες περιοχές στα κέντρα μεγάλων πόλεων. Γενικότερα, η Ευρώπη προωθεί – πολλές φορές με βίαιο τρόπο – τον εξηλεκτρισμό των οχημάτων, κάτι που πέρα από τις αντιδράσεις που έχει φέρει στο ευρύ κοινό, έχει από την άλλη βοηθήσει στην εξέλιξη της συγκεκριμένης τεχνολογίας. Το 2020, λοιπόν, η εταιρεία κατοχύρωσε μία σειρά εμπορικών ονομάτων, με τα ακρωνύμια “CE” και “DC”. Το πρώτο, όπως έχουμε δει με τα CE 04 και CE 02, αφορά τα ηλεκτρικά σκούτερ της εταιρείας, ενώ το “DC” (direct current), όπως δηλώνει η BMW αφορά τις ηλεκτρικές της μοτοσυκλέτες, κάτι που ξέρουμε ότι έρχεται όπως μας έχει ανακοινώσει σε συνέντευξή του και ο CEO της BMW, Markus Schramm.
Οι νέες πατέντες έρχονται σχεδόν ένα χρόνο αργότερα από τις τελευταίες που αφορούσαν την ηλεκτροκίνηση, στις οποίες η BMW έδειχνε τα σχέδια για μία μικρή ηλεκτρική μοτοσυκλέτα, χρησιμοποιώντας εξαρτήματα από την σειρά μικρομεσαίου κυβισμού G 310. Η πατέντα που βλέπουμε εδώ θα μπορούσε να αναφέρεται σε κάτι μεγαλύτερο σε ισχύ με αντίστοιχα αυξημένη απόδοση.

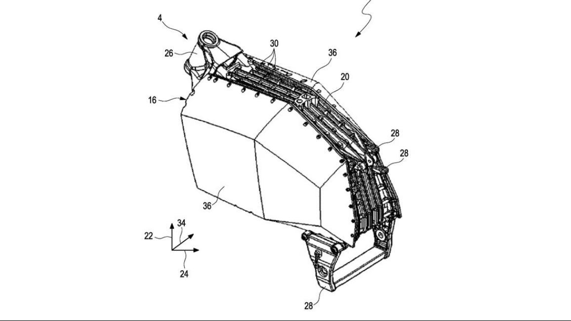
Τα σχέδια της πατέντας δείχνουν ένα αρθρωτό monocoque πλαίσιο, το οποίο δομείται γύρω από ένα κεντρικό τμήμα τριών επιπέδων, για τις μπαταρίες και τα ηλεκτρονικά συστήματα ελέγχου και φόρτισης. Αυτά, καλύπτονται από βιδωτά πλαϊνά καλύμματα, δίνοντας με αυτόν τον τρόπο την απαραίτητη σταθερότητα και ακαμψία στο όλο σύνολο. Πιθανότατα το συγκεκριμένο σχέδιο προορίζεται για να χρησιμοποιηθεί με διαμήκη τοποθετημένο κινητήρα, όπως είχαμε στο Vision DC, καθιστώντας έτσι εφικτή την χρήση άξονα στην τελική μετάδοση, φέρνοντας την ηλεκτρική της μοτοσυκλέτα ακόμα πιο κοντά στο σήμα κατατεθέν των Βαυαρών, τις μοτοσυκλέτες με boxer κινητήρα και άξονα στην μετάδοση.
Όπως βλέπουμε, η BMW χρησιμοποιεί και εδώ αλουμίνιο για την θήκη της μπαταρίας, όπως είχαμε δει και στο πρωτότυπο του 2019, ενσωματώνοντάς την στο πλαίσιο. Αντίστοιχη αρχιτεκτονική έχουν ακολουθήσει η Harley-Davidson με το Livewire, αλλά και η Can-Am στα ηλεκτρικά μοντέλα που αναμένεται να μπουν στην παραγωγή μέσα στο 2024. Το συγκεκριμένο μέταλλο δεν έχει επιλεχθεί τυχαία, καθώς έχει θερμοαπαγωγικές ικανότητες, βοηθώντας στην διατήρηση σταθερής θερμοκρασίας για την μπαταρία.

Η ιδέα ενός monocoque πλαισίου, που ταυτόχρονα λειτουργεί και ως χώρος για τα ηλεκτρονικά δεν είναι καινούργια, όμως η πατέντα της BMW επικεντρώνεται στην συγκεκριμένη διάταξη, η οποία περιβάλει στην ουσία το χώρο όπου βρίσκεται η μπαταρία. Η κεφαλή του τιμονιού φαίνεται να είναι από κράμα αλουμινίου, ενώ δένει πάνω στο υπόλοιπο πλαίσιο με βίδες, κάτι που την καθιστά εύκολο να αλλαχθεί, προσδίδοντας διαφορετικά γεωμετρικά χαρακτηριστικά στο σύνολο, χωρίς μεγάλες αλλαγές. Το ίδιο ισχύει και για τα σημεία έδρασης του ψαλιδιού, το οποίο μπορεί εύκολα να αφαιρεθεί, χωρίς να επηρεαστεί το κύριο τμήμα του πλαισίου. Στις πατέντες βλέπουμε ότι το πίσω αμορτισέρ εδράζεται στο πάνω τμήμα του monocoque. Η αρθρωτή διάταξη που επιτρέπει την εύκολη αποσύνδεση της κεφαλής του τιμονιού και των σημείων έδρασης του ψαλιδιού, από το κύριο κεντρικό στοιχείο έχει σημαντικό πλεονέκτημα όσον αφορά το κόστος. Καθώς τα ίδια ηλεκτρονικά, το πακέτο της μπαταρίας και το δομικό τμήμα, μπορούν να χρησιμοποιηθούν σε διάφορα είδη μοντέλων, χωρίς να απαιτείται ριζικός ανασχεδιασμός κάθε φορά, το κόστος παραγωγής και εξέλιξης μπορεί να μειωθεί δραστικά, αφού λιγότερα εξαρτήματα χρειάζεται να κατασκευαστούν από λευκό χαρτί, ωφελώντας εν τέλει τον τελικό καταναλωτή.
Το πιο πιθανό είναι ότι αρχικά η BMW θα μας παρουσιάσει κάποια ηλεκτρική μοτοσυκλέτα σε roadster ύφος, με στόχο την αστική μετακίνηση. Οι περιορισμοί που θέτουν οι μικρές μπαταρίες που μπορούν να τοποθετηθούν στις μοτοσυκλέτες – καθώς το βάρος παίζει σημαντικό ρόλο, σε αντίθεση από τα αυτοκίνητα – συνεπάγονται μικρή αυτονομία και οι μεγάλοι χρόνοι φόρτισης, είναι ζητήματα που οι Βαυαροί γνωρίζουν καλά. Αυτός είναι και ο λόγος που για την ώρα πιθανότατα δεν θα δούμε μία adventure ή touring μοτοσυκλέτα από αυτούς. Ίσως στο μέλλον, με την έλευση των μπαταριών στερεάς κατάστασης, οι οποίες είναι πιο μικρές σε διαστάσεις, ελαφρύτερες και φορτίζουν ταχύτερα, και εν γένει την πρόοδο της τεχνολογίας στο συγκεκριμένο χώρο, να δούμε και κάποιο τέτοιο μοντέλο, στο μέλλον.
 
  
 
  
     
  
     
  
     
  
     
  
     
  
     
  
     
  
 
  
     
  
     
  
     
  
     
  
    