Η Kawasaki ανέκαθεν θεωρούνταν η εταιρεία με τις πιο δυνατές μοτοσυκλέτες παραγωγής, συγκριτικά με τα υπόλοιπα τρία ιαπωνικά εργοστάσια. Τα παραδείγματα είναι πολλά, όπως όταν η Honda έφτιαξε την πρώτη superbike, το CB750 τη δεκαετία του ’70, όπου Kawasaki κατέστρωσε ολόκληρο σχέδιο και αντί να παρουσιάσει την ίδια εποχή το Ζ750, έφτιαξε το Ζ900 με μεγαλύτερη ιπποδύναμη και περισσότερα κυβικά. Αυτή η φιλοσοφία παραμένει μέχρι και σήμερα, με πιο πρόσφατο παράδειγμα το ΖΖR 1400, που ξεπέρασε σε ονομαστική ιπποδύναμη και κυβισμό το GSX-1300R Hayabusa της Suzuki.
Ωστόσο, τα τελευταία χρόνια η "πράσινη" εταιρεία φαίνεται πως βαδίζει σε άλλα μονοπάτια και πειραματίζεται παρουσιάζοντας μοτοσυκλέτες που έχουν αρκετά διαφοροποιημένη οπτική ως προς τον τρόπο οδήγησής τους, γεγονός που την κάνει να ξεχωρίζει για άλλη μια φορά. Έτσι, πριν από έξι χρόνια το 2013, παρουσίασε για πρώτη φορά ένα ριζοσπαστικό πρωτότυπο, το Concept J, το οποίο διέθετε τέσσερις τροχούς και “τιμόνι” που αποτελείται από δύο λαβές. Ένα ενδιαφέρον ακόμη κομμάτι που εισήγαγε η Kawasaki με το πρωτότυπό της ήταν πως το “J” διέθετε μεταβλητή γεωμετρία αλλά και εργονομία. Ειδικότερα η θέση οδήγησης, που θύμιζε αυτή των supersport, μπορούσε να αλλάξει σε μια πιο άνετη θυμίζοντας ελαφρώς αυτή των sport touring.
Έπειτα, ο φάκελος Concept J πέρασε στην αφάνεια, ξεχάστηκε και μετά από πέντε χρόνια, το 2018, αναδύθηκε πάλι στην επικαιρότητα μαζί με ένα video από την Kawasaki. Όμως δεν έδινε πληροφορίες σχετικά με το αν αυτή η ριζοσπαστική μοτοσυκλέτα θα βγει στην παραγωγή ή θα παρουσιαστεί πάλι ως πρωτότυπο. Έτσι, δεν ήταν σαφές αν η Kawasaki συνέχιζε να εργάζεται -ή όχι- πάνω στο Concept J.
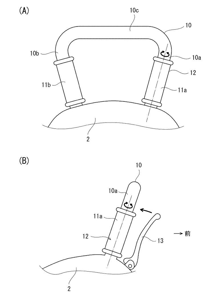
Τώρα, το εργοστάσιο κατέθεσε νέες πατέντες με σχέδια από μια μοτοσυκλέτα που θυμίζει το “J”. Αυτές εστιάζουν κυρίως στη θέση οδήγησης και ειδικότερα στο “τιμόνι” αλλά και στην λειτουργία των τροχών. Βάζουμε εισαγωγικά διότι ο σχεδιασμός του τιμονιού δεν παραπέμπει ούτε σε αυτά των μοτοσυκλετών ούτε των αυτοκινήτων. Θυμίζει έντονα το γράμμα “Π” και ο ρόλος του δείχνει να περιορίζεται στο να αποτελεί απλά μια λαβή στήριξης για τον αναβάτη. Ωστόσο, η κλασσική λειτουργία του γκαζιού έχει διατηρηθεί, όπως και η μανέτα του φρένου, ενώ δεν υπάρχει αυτή του συμπλέκτη. Αυτό σημαίνει πως μάλλον τα σχέδια αφορούν κάποια μοτοσυκλέτα με ηλεκτρικό κινητήρα ή ημι-αυτόματη μετάδοση στο... χειρότερο σενάριο.
Η μοτοσυκλέτα των σχεδίων επίσης, δεν διαθέτει πιρούνι μπροστά, αλλά ψαλίδι με μοχλικό –όπως και πίσω- το οποίο μάλιστα έχει τη δυνατότητα να περιστραφεί γύρω από τον διαμήκη άξονα της μοτοσυκλέτας. Στα σχέδια που τη δείχνουν να στρίβει, παρατηρούμε πως το “τιμόνι” παραμένει σταθερό και ο αναβάτης χρησιμοποιεί το σώμα του για να στρίψει τη μοτοσυκλέτα, η οποία το κάνει με τον μπροστινό τροχό να παίρνει μεγαλύτερη κλίση από τον πίσω. Αυτό σημαίνει πως τόσο το μπροστά μέρος της μοτοσυκλέτας όσο και το πίσω λειτουργούν ανεξάρτητα το ένα από το άλλο.
Τα ερωτήματα που δημιουργούνται είναι πολλά, όπως το πώς θα μεταφέρεται η κίνηση από τον κινητήρα στον τροχό της μοτοσυκλέτας, καθώς με τις κλίσεις που παίρνει θα ήταν αδύνατο μια αλυσίδα ή ένας ιμάντας μετάδοσης να παραμείνει στη θέση του. Μια λύση για αυτό το θέμα είναι να χρησιμοποιηθούν δύο ηλεκτρικοί κινητήρες –ένας στον εμπρός και ένας στον πίσω τροχό. Όπως συμβαίνει με τον κινητήρα της Vespa Elettrica, που είναι άμεσης μετάδοσης (ο κινητήρας μεταφέρει την κίνηση επιτόπου στον άξονα του τροχού, χωρίς σύστημα μετάδοσης), το ίδιο μπορεί να συμβαίνει και εδώ στα σχέδια της Kawasaki. Οι μπαταρίες από την άλλη μπορούν να βρίσκονται κάτω από τη θέση του αναβάτη, συγκεντρώνοντας έτσι το βάρος στο κέντρο και χαμηλά. Οπότε, με αυτό τον τρόπο, τα σχέδια πιθανότατα θα μπορούσαν να πάρουν “σάρκα και οστά”, μετά από χιλιάδες ώρες έρευνας και εξέλιξης φυσικά, ώστε η μοτοσυκλέτα να κάνει όσα τα υποδεικνύει η θεωρία.
Ένα εξίσου ενδιαφέρον ερώτημα που γεννάται είναι το πώς η μοτοσυκλέτα θα “καταλαβαίνει” τις προθέσεις του αναβάτη. Η απάντηση έρχεται μέσω αισθητήρων που θα αντιλαμβάνονται την διαφορά στην κατανομή του βάρους και μέσω της κεντρικής μονάδας θα δίνεται εντολή σε ηλεκτρικά μοτέρ που θα δίνουν την κλίση στους τροχούς.
Για άλλη μια φορά η Kawasaki καταφέρνει να εντυπωσιάσει με τα σχέδια που κατέθεσε και παράλληλα να δείξει πως συνεχίζει την έρευνα πάνω σε ριζοσπαστικές μοτοσυκλέτες. Περιμένουμε με ανυπομονησία το Tokyo Motor Show, να δούμε τι από όλα αυτά θα παρουσιάσει η πράσινη εταιρεία και αν το Concept J θα ξαναεμφανιστεί πιο εξελιγμένο από ποτέ.







