Όταν ανακοινώθηκε ότι η Kawasaki εξαγόρασε το 49% των μετοχών της Bimota τον περασμένο Νοέμβριο, δημιουργήθηκε σε πολλούς η απορία για ποιο λόγο η Kawasaki να ενδιαφερθεί για μία εταιρεία που στα 47 χρόνια της πορείας της έχει κατασκευάσει λιγότερες μοτοσυκλέτες από όσες φτιάχνει η Kawasaki μέσα σε μια εβδομάδα; Η πρώτη απάντηση ήρθε σχεδόν άμεσα με την παρουσίαση του TesiH2 και το παζλ ολοκληρώνεται με τις πατέντες που κατέθεσε πρόσφατα το εργοστάσιο του Akashi, για μια μοτοσυκλέτα με hub steering.
Ουσιαστικά πρόκειται για ένα project-πλατφόρμα που μπορεί να εφαρμοστεί σε πολλές μοτοσυκλέτες που θα μοιράζονται τις αναρτήσεις και τα εξαρτήματα του συστήματος διεύθυνσης. Φυσικά η Bimota είναι από τους πρωτεργάτες τέτοιων συστημάτων, με το Tesi που έκανε το ντεμπούτο του στις αρχές της δεκαετίας του '90, αλλά η εξέλιξή του είχε ξεκινήσει από το 1982. Είναι το πιο γνωστό και αντιπροσωπευτικό δείγμα μοτοσυκλέτας με hub steering, παρά το ότι παράχθηκε σε λίγα νούμερα και το κόστος αγοράς της ήταν υπέρογκο.
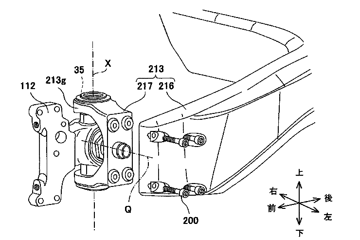
Οι πατέντες της Kawasaki κινούνται προς αυτή την κατεύθυνση, αλλά δεν αποτελούν μια απόλυτη αντιγραφή του Tesi. Αντιθέτως, έχει έναν αρκετά διαφορετικό σχεδιασμό, με το μπροστινό ψαλίδι που συνδέεται με το πλαίσιο μέσω μοχλικών. Το κάθετο στέλεχος έχει αναλάβει το ρόλο της διεύθυνσης, το οποίο συνδέεται με ράβδους και ένα μοχλικό που επιτρέπει την κίνηση της ανάρτησης. Αυτή την έχει αναλάβει ένα αμορτισέρ που είναι τοποθετημένο στον διαμήκη άξονα της μοτοσυκλέτας, πίσω από το λαιμό, με μια ράβδο από το μπροστινό ψαλίδι να ελέγχει την κίνησή του.
Τα πλεονεκτήματα –στην θεωρία- ενός τέτοιου συστήματος είναι αρκετά, ειδικά σε ό,τι αφορά την συμπεριφορά και το κράτημα. Οι δυνάμεις που ασκούνται κατά το φρενάρισμα, μεταφέρονται από το μπροστινό ψαλίδι στο πλαίσιο σε ευθεία γραμμή, αντί να συμβαίνει αυτό μέσω ενός συμβατικού πιρουνιού και του λαιμού. Αυτό σημαίνει ότι δεν χρειάζεται ένα υπερβολικά άκαμπτο πλαίσιο για να αντισταθμίσει τον μοχλό που δημιουργεί το πιρούνι κατά την διάρκεια των φρένων, ενώ η μπροστινή ανάρτηση δεν συμπιέζεται ότνα περνάει πάνω από ανωμαλίες του δρόμου. Κατ' επέκταση, η μοτοσυκλέτα έχει πολύ πιο εύκολο καθήκον σε έναν συνδυασμό, για παράδειγμα, φρένων πάνω από σαμαράκια, με πολύ περισσότερη πρόσφυση για το μπροστινό ελαστικό. Παρά, όμως των παραπάνω γνωστών πλεονεκτημάτων, το hub steering δεν ευδοκίμησε ιδιαίτερα στην μοτοσυκλέτα, είτε λόγω του υπερβολικού κόσοτυς, είτε λόγω της περίεργης αίσθησης που μεταφέρει το μπροστινό, όπως στην περίπτωση του Yamaha GTS1000.
Το κόστος είναι το μεγάλοι στοίχημα για την Kawasaki, κάτι που μπορούμε να το διαπιστώσουμε και από τα σχέδια στις πατέντες, από την στιγμή που η απόσβεση ενός τέτοιου συστήματος μπορεί να γίνει όχι από μία, αλλά από μια ολόκληρη γκάμα μοτοσυκλετών.
Ο σχεδιασμός προβλέπει ότι το κάτω μέρος της μοτοσυκλέτας –ο κινητήρας, το πλαίσιο που τον περιβάλει και τα δύο ψαλίδια- θα μπορούν να τοποθετηθούν σε πολλά μοντέλα. Με μικρές αλλαγές στα εξαρτήματα στήριξης της σέλας και του τιμονιού μπορούν να προκύψουν εντελώς διαφορετικές θέσεις οδήγησης, ενώ όπως αναφέρεται στα έγγραφα των πατεντών, "το κόστος που απαιτείται για τον σχεδιασμό και την παραγωγή μπορεί να συμπιεστεί".
Παρά την διαφορετικότητα του σχεδιασμού σε σχέση με το Tesi, υπάρχουν ενδείξεις μέσα στα έγγραφα που μαρτυρούν ότι μπορεί να υπάρξει μεγαλύτερη σύγκλιση στο τελικό αποτέλεσμα, με την αντικατάσταση των παράλληλων μοχλικών που συνδέουν το ψαλίδι με το πλαίσιο από ένα συμβατικό μοχλισμό: "το ζεύγος των υποστηρικτικών μοχλικών 14, 15 δεν είναι βασικό στοιχείο και μπορεί να παραληφθεί".
Το σύστημα διεύθυνσης που φαίνεται στις πατέντες της Kawasaki είναι πιο απλό από το αντίστοιχο της Tesi, που ενδεχομένως να μεταφράζεται και σε πιο ακριβή αίσθηση που θα παίρνει ο αναβάτης από το μπροστινό. Κάθε σύνδεση και άρθρωση προφανώς και ενέχει την πιθανότητα για ανοχές και χαλάρωσης των συνδέσμων, γι' αυτό και το σχέδιο της Kawasaki προβλέπει μόνο δύο τέτοιες αρθρώσεις στα μοχλικά ανάμεσα στο τιμόνι και τον μπροστινό τροχό. Σε αντίθεση το σύστημα της Tesi έχει μια πολύ πιο πολύπλοκη διάταξη που αυξάνει το ρίσκο.
Η Kawasaki λέει επίσης ότι δεν είναι απόλυτα περιορισμένη στο σύστημα που φαίνεται στο σχέδιο, υπονοώντας ότι θα μπορούσε να επιλέξει κάποιο άλλο σχεδιασμό με υδραυλικό ή και ηλεκτρικό μοχλικό, αντί για τον απευθείας μοχλισμό μεταξύ του τιμονιού και του τροχού. Το μέλλον βρίσκεται κοντά!










