Επικαιρότητα 21/2/2022 Dunlop Quilifier CORE 2022: Νέο ελαστικό υψηλών επιδόσεων Η Dunlop προσθέτει για το 2022 έναν νέο ελαστικό στην κατηγορία Hypersport σε διαστάσεις που καλύπτουν ένα τεράστιο φάσμα μοτοσυκλετών δρόμου, με δύο εμπρός ελαστικά (120/70-17 και 120/60-17) και πέντ...
Νέα Μοντέλα 18/2/2022 Ducati XDiavel "Nera": Απεριόριστη κομψότητα! Στο έβδομο κατά σειρά "επεισόδιο" για τα νέα μοντέλα της, η Ducati παρουσίασε το XDiavel Nera, μια σ...
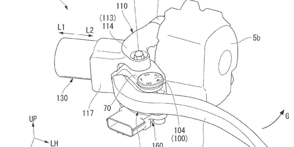
Επικαιρότητα 18/2/2022 Συνέντευξη Markus Schramm–CEO BMW Motorrad: "Ηλεκτροκίνηση και σε μοτοσυκλέτες της BMW!" Παρά τις διαρκείς προκλήσεις που προκύπτουν λόγω της πανδημίας, η BMW Motorrad συνεχίζει την ανοδική...
Υπόλοιπα πρωταθλήματα 18/2/2022 Αποσύρεται η Yamaha από τις μοτοσυκλέτες στο Dakar! Η καρό σημαία για το φετινό Dakar Rally στην Jeddah της Σαουδικής Αραβίας, εκεί όπου οι αναβάτες της...
Επικαιρότητα 17/2/2022 Κινητήρας V8 υδρογόνου από την Yamaha! Η συνεργασία μεταξύ Yamaha και Toyota έχεις τις ρίζες της βαθιά μέσα στο χρόνο και το πάντρεμα των τ...
Επικαιρότητα 17/2/2022 Kawasaki ZXR750R 1992 – Αχρησιμοποίητο στο κουτί του με υψηλό αντίτιμο! Άνω των 40.000€ αναμένεται να πουληθεί ένα Kawasaki ZX-7R του 1992 που για τριάντα χρόνια παρέμεινε ...
Επικαιρότητα 16/2/2022 Ταξινομήσεις Ιανουαρίου 2022: Δυνατή εκκίνηση παρά τις ελλείψεις Το στοίχημα όλων για το 2022 είναι να έχουν διαθέσιμα τα δημοφιλή μοντέλα τους την κατάλληλη στιγμή....
Νέα Μοντέλα 15/2/2022 Νέα Yamaha Ténéré 700 World Raid: Παρουσιάστηκε με δύο ρεζερβουάρ και ρυθμιζόμενο ABS! – [VIDEO] Το Ténéré 700 έπαθε DR Big και KTM Adventure και απέκτησε δύο τάπες ρεζερβουάρ ανεβάζοντας την συνολ...
Νέα Μοντέλα 15/2/2022 Brabus 1300 R: Ξεπούλησε σε λιγότερο από δύο λεπτά! Σήμερα άνοιξε η πλατφόρμα των προπαραγγελιών για το Brabus 1300 R, το προϊόν της συνεργασίας μεταξύ ...
Επικαιρότητα 15/2/2022 Το πρώτο μοτοσυκλετιστικό παντελόνι με αερόσακο Ακόμη ένας αερόσακος για μοτοσυκλετιστές, αυτή την φορά στο παντελόνι από μία Σουηδική εταιρεία που ...
Επικαιρότητα 14/2/2022 Νέα αντιπροσωπεία λιπαντικών IP η "Σ. Μπέζας & Μ. Λεών!" Η εταιρεία "Μπέζας & Λεών", είναι μία από τις μεγαλύτερες εισαγωγικές εταιρείες ανταλλακτικών κα...