Το θέμα των ενεργητικών αεροδυναμικών βοηθημάτων δεν είναι καινούργιο και μας έχει απασχολήσει στο παρελθόν, όπως πρόσφατα με την Honda, και φαίνεται πως τώρα μπαίνει και η Piaggio στον "χορό", με την εξέλιξη ενός συστήματος που κινεί ανεξάρτητα αεροδυναμικά φτερά εκατέρωθεν του σκούτερ, που το βοηθούν στο στρίψιμο.
Αν και οι πατέντες που κατέθεσε το εργοστάσιο δείχνουν το σύστημα πάνω σε ένα MP3, θα μπορούσε να είναι απλώς μια στρατηγική αποπροσανατολισμού. Με τους δύο τροχούς μπροστά, το MP3 δεν έχει ούτως ή άλλως πρόβλημα με την πρόσφυση του μπροστινού, ούτε συγκαταλέγεται στα οχήματα υψηλών επιδόσεων ώστε να επωφεληθεί από την κάθετη δύναμη που δημιουργείται. Μην ξεχνάτε ότι στην Piaggio ανήκουν οι Aprilia και Moto Guzzi, οπότε διαθέτει πολλά γρηγορότερα μοντέλα, που θα μπορούσαν να επωφεληθούν από ένα τέτοιο σύστημα.
Μελετώντας με μεγαλύτερη προσοχή τις πατέντες και τα κείμενα που τις συνοδεύουν, γίνεται εύκολα αντιληπτό ότι η Piaggio σκοπεύει να χρησιμοποιήσει αυτή την ιδέα τόσο σε δίτροχα, όσο και σε τρίτροχα σκούτερ. Από την στιγμή που άλλαξαν πέρσι οι κανονισμοί στα WSBK επιτρέποντας τα ενεργά αεροδυναμικά βοηθήματα, εφόσον υπάρχουν καιστις εκδόσεις παραγωγής των μοτοσυκλετών, έχει νόημα να εφαρμοστεί το συγκεκριμένο σύστημα στην επόμενη γενιά των Aprilia RSV4.
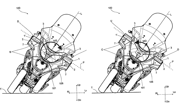
Μιας και τα αεροδυναμικά φτερά είναι άμεσα συνδεδεμένα με τα αεροπλάνα, είναι λογικό η διάταξη των κινούμενων αυτών μερών να ακολουθεί την ίδια φιλοσοφία. Αυτό ακριβώς είναι που κάνει και το σύστημα της Piaggio. Με δύο, ανεξάρτητα, φτερά που ενεργοποιούνται μέσω μια ηλεκτρονικής μονάδας που είναι συνδεδεμένη με μια IMU, η μοτοσυκλέτα δεν βελτιώνει απλώς την συνολική κάθετη δύναμη, αλλά βοηθά τις κλίσεις κατά την διάρκεια των στροφών και την επαναφορά στην κάθετη θέση στις εξόδους.
Κάθε φτερό μπορεί να κινηθεί ανεξάρτητα μέσω ενός ηλεκτρικού μηχανισμού. Όταν το μπροστινό άκρο έχει κλίση προς τα κάτω και το πίσω προς τα πάνω, τα φτερά δημιουργούν κάθετη δύναμη. Όταν συμβαίνει το αντίθετο, τότε δημιουργείται ανυψωτική δύναμη. Και όταν είναι σε οριζόντια θέση, τότε είναι αεροδυναμικά ουδέτερο με ελάχιστη αεροδυναμική αντίσταση.
Σύμφωνα με την πατέντα, στην είσοδο μιας στροφής τα φτερά λειτουργούν με αντίθετες μεταξύ τους κατευθύνσεις, οπότε αυτό που είναι προς την εξωτερική πλευρά της στροφής δημιουργεί ανύψωση και το άλλο δημιουργεί κάθετη δύναμη. Το αποτέλεσμα είναι ότι η μοτοσυκλέτα θα πλαγιάσει άμεσα για την στροφή. Για να φτάσει στην απαιτούμενη κλίση τα δύο φτερά λειτουργούν συνδυαστικά. Κανονικά, η ιδέα θα ήταν και οι δύο πλευρές να δημιουργούν κάθετη δύναμη, φορτίζοντας το μπροστινό προς το έδαφος για να αυξηθεί η πρόσφυση, αλλά η πατέντα υπονοεί ότι υπάρχουν περιπτώσεις που έχει νόημα η δημιουργία ανυψωτικής δύναμης, μειώνοντας το βάρος που πέφτει στον μπροστινό τροχό για να ελαφρύνει η αίσθηση του τιμονιού, όταν για παράδειγμα θέλεις να κάνεις γρήγορες εναλλαγές κλίσεων. Στην έξοδο της στροφής, το εσωτερικό φτερό παίρνει κλίση για να δημιουργήσει ανυψωτική δύναμη, ενώ το εξωτερικό παίρνει αντίθετη κλίση για να δημιουργήσει κάθετη δύναμη, συμβάλλοντας στην μείωση της κλίσης.
Εκτός από τα πλεονεκτήματα στο στρίψιμο, η πατέντα μας δείχνει ότι όταν και τα δύο φτερά μετακινηθούν έτσι ώστε να δημιουργούν την μέγιστη κάθετη δύναμη, δημιουργούν παράλληλα κι ένα φαινόμενο "αερόφρενου", βοηθώντας στην επιβράδυνση της μοτοσυκλέτας. Αντίστοιχα, θα μπορούν να μετακινηθούν ανάλογα με την επιτάχυνση και την μέγιστη τελική στις ευθείες, προσθέτοντας για παράδειγμα κάθετη δύναμη κατά το αρχικό στάδιο της επιτάχυνσης για να μειωθούν οι σούζες και στην συνέχεια να έρθουν σε ουδέτερη θέση όσο αυξάνεται η ταχύτητα και μειώνεται ο ρυθμός της επιτάχυνσης.
Εδώ θα πρέπει να σημειώσουμε ότι το RS660 σε μορφή concept που παρουσιάστηκε το 2018, έφερε λογότυπα που μαρτυρούσαν την ύπαρξη ενεργών αεροδυναμικών βοηθημάτων, παρά το γεγονός ότι δεν ήταν πουθενά ορατά στην μοτοσυκλέτα. Δεν υπάρχει κάποια ένδειξη για την ύπαρξή τους στην μοτοσυκλέτα παραγωγής που είδαμε πέρσι, αλλά είναι ξεκάθαρο πως πρόκειται για μια ιδέα που την δουλεύει η εταιρεία. Μάλιστα, με το νέο RSV4 να βρίσκεται στην διαδικασία της εξέλιξης, σίγουρα αυτή η λύση εξετάζεται πολύ σοβαρά για να προστεθεί στον εξοπλισμό του.






