Το concept των τρίτροχων σκούτερ και μοτοσυκλετών είναι ένα ρεύμα που αργά αλλά σταθερά, εξελίσσεται και επεκτείνεται για πάνω από μία δεκαετία, από τότε που πρωτοεμφανίστηκε το MP3 της Piaggio. Ειδικά τώρα που οι διαχωριστικές γραμμές μεταξύ αυτοκινήτων και μοτοσυκλετών γίνονται όλο και πιο… θολές, αυξάνονται σιγά-σιγά και τα εργοστάσια που φλερτάρουν με την ιδέα.
Η Kawasaki έχει ήδη ασχοληθεί με το θέμα, έχοντας σχεδιάσει στο παρελθόν τρίτροχα, ενώ έχει δημιουργήσει και μια ξεχωριστή φίρμα για τρίτροχα με ηλεκτρική υποβοήθηση και πεντάλ, τα οποία πλαγιάζουν τους μπροστινούς τροχούς. Πριν από λίγο καιρό, είχε δείξει και ένα concept για ένα τρίτροχο αυτοκίνητο του οποίου οι μπροστινοί τροχοί πλαγιάζουν στις στροφές, αλλά τώρα φαίνεται πως ετοιμάζει μια ακόμη νέα προσέγγιση στο θέμα, δουλεύοντας πάνω σε ένα σύστημα που μετατρέπει τις συμβατικές μοτοσυκλέτες σε τρίτροχες, όπως το Niken.
Είτε μας αρέσουν είτε όχι, η απήχηση που μπορεί να έχει αυτή η κατηγορία των τρίτροχων είναι μεγάλη. Μπορούν να προσφέρουν την ευελιξία των συμβατικών μοτοσυκλετών, αλλά με αυξημένα επίπεδα ασφάλειας, λόγω της μεγαλύτερης πρόσφυσης του μπροστινού εξαιτίας της ύπαρξης τρίτου τροχού. Επιπλέον, σε ορισμένες περιπτώσεις οι οποίες εξαρτώνται από διάφορους παράγοντες –όπως το μετατρόχιο, η απόσταση δηλαδή μεταξύ των δύο μπροστινών τροχών- μπορούν να οδηγηθούν και με δίπλωμα αυτοκινήτου. Αυτό είναι ένα σημαντικό πλεονέκτημα για όσους η διαδικασία απόκτησης διπλώματος μοτοσυκλέτας αποτελεί αποτρεπτικό παράγοντα, είτε για οικονομικούς λόγους είτε για το χρονοβόρο της υπόθεσης.
Μέχρι στιγμής, οι επιλογές για μοτοσυκλέτες και σκούτερ ευρείας παραγωγής στην αγορά, είναι η γκάμα των Piaggio MP3, τα Yamaha Tricity και Niken και φυσικά η γκάμα της Quadro (που είναι περισσότερο γνωστή στη χώρα μας για τα τετράτροχα σκούτερ της). Όλες οι παραπάνω επιλογές διαφέρουν αρκετά από τις συμβατικές δίτροχες μοτοσυκλέτες, με ειδικά σχεδιασμένα πλαίσια και πολύπλοκα συστήματα για την μπροστινή ανάρτηση, λόγω των δύο τροχών. Εδώ όμως έρχεται η Kawasaki με τις πατέντες που κατέθεσε για να αλλάξει τα δεδομένα, για ένα σύστημα που μπορεί να εφαρμοσθεί σε οποιαδήποτε συμβατική μοτοσυκλέτα, με ελάχιστες αλλαγές.
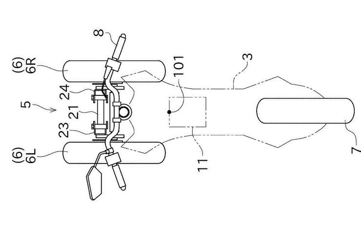
Η βασική ιδέα που στηρίζεται το concept είναι εξαιρετικά απλή. Συνήθως τα τρίτροχα που πλαγιάζουν οι μπροστινοί τροχοί, διαθέτουν ένα σύστημα μπροστά με δύο παράλληλους δοκούς τοποθετημένους κάθετα ως προς την μοτοσυκλέτα, που συνδέονται στο κέντρο τους με ένα είδος μοχλισμού, ενώ στο κάθε άκροι τους εδράζεται ένα ανεξάρτητο σύστημα ανάρτησης (είτε τηλεσκοπικό καλάμι είτε διάταξη οδηγούντα βραχιόνα) για τον κάθε τροχό. Η Kawasaki απορρίπτει αυτή την προσέγγιση και τοποθετεί το σύστημα των δοκών και τα κέντρα στο κάτω μέρος μιας διάταξης, ενός συμβατικού στην εμφάνιση πιρουνιού.
Όπως και στα υπόλοιπα γνωστά συστήματα, οι δύο τροχοί πλαγιάζουν σαν ένας χάρη στο παραλληλόγραμμο μοχλικό ανάμεσα στα καλάμια, που συνδέονται στο κέντρο έτσι ώστε οι μπροστινοί τροχοί να έχουν την ίδια γωνία κλίσης με την υπόλοιπη μοτοσυκλέτα, ενώ διατηρούν την επαφή με το έδαφος.
Το μειονέκτημα στην συγκεκριμένη περίπτωση είναι ότι όλο αυτό το σύστημα προστίθεται στην μη αναρτώμενη μάζα, αλλά από την άλλη απλοποιεί δραματικά την διαδικασία της ανάρτησης και της κατεύθυνσης, δίνοντας έτσι την δυνατότητα να χρησιμοποιηθεί ένα κανονικό πλαίσιο μοτοσυκλέτας.
Ουσιαστικά πρόκειται για την εξέλιξη μιας πατέντας που είχε παρουσιάσει η Kawasaki παλιότερα, όπου το σύστημα ήταν και πάλι τοποθετημένο στα μη αναρτώμενα μέρη, αλλά διέθετε ένα ψαλίδι για μπροστά αντί για συμβατικό πιρούνι. Αυτό είχε σαν αποτέλεσμα τον ολοκληρωτικό επανασχεδιασμού του πλαισίου και του συστήματος διεύθυνσης. Με τις καινούργιες πατέντες της Kawasaki, όλη αυτή η πολυπλοκότητα "πάει περίπατο"!
Σε ό,τι αφορά το σύστημα κατεύθυνσης, το πλεονέκτημα αποκτά ακόμη μεγαλύτερες διαστάσεις. Στα τρίτροχα που ξέρουμε μέχρι τώρα, υπάρχουν μοχλικά ανάμεσα στις δοκούς του συστήματος και τους τροχούς, τα οποία αφαιρούν ένα ποσοστό της πληροφόρησης που φτάνει στον αναβάτη σε σύγκριση με ένα συμβατικό μπροστινό. Με την πατέντα της Kawasaki, όλο το σύστημα για τις κλίσεις στρίβει χωρίς δοκούς, χωρίς μοχλικό και συνδέσμους, αφαιρώντας έτσι από την εξίσωση πολλά ενδιάμεσα στάδια απωλειών αίσθησης.
Σύμφωνα με τα σχέδια που απεικονίζονται στις πατέντες, η γωνία κλίσης του συστήματος –όταν το βλέπουμε από το πλάι- μπορεί να αλλάξει σε σχέση με το πιρούνι. Στην αρχική επιλογή, όπου το όλο σύστημα είναι παράλληλο με το μπροστινό, ο εσωτερικός (σε σχέση με την στροφή) τροχός μετακινείται προς τα πίσω και ο εξωτερικός προς τα εμπρός, όταν η μοτοσυκλέτα πλαγιάζει. Εναλλακτικά, οι παράλληλοι σύνδεσμοι μπορούν να τοποθετηθούν έτσι ώστε να είναι ακριβώς ο ένας πάνω από τον άλλο, εκμηδενίζοντας την μετατόπιση εμπρός-πίσω των τροχών, την ώρα που πλαγιάζουν. Σύμφωνα με την Kawasaki αυτή η κατακόρυφη διάταξη προσφέρει μεγαλύτερη σταθερότητα.
Σίγουρα δεν πρόκειται να δούμε κάποιο… τρίτροχο superbike της Kawasaki σύντομα. Σκεφτείτε μόνο ότι για την παραγωγή του κινητήρα του Η2 με τον υπερσυμπιεστή, το εργοστάσιο συμπλήρωνε και κατέθετε πατέντες για μια ολόκληρη πενταετία. Παρ' όλα αυτά, η εταιρεία του Akashi παρουσίασε πρόσφατα ένα τρίτροχο με πετάλια και ηλεκτρική υποβοήθηση στην γκάμα της "Noslisu" (της θυγατρικής που δημιούργησε για την κατασκευή τέτοιων εναλλακτικών μέσων για αστική μετακίνηση), ενώ πριν από οκτώ χρόνια –το 2013- είχε δείξει το Concept J, που ήταν μια σχεδιαστική άσκηση για ένα τετράτροχο superbike με τροχούς που γέρνουν.
Με δεδομένο ότι η Yamaha έχει στα μελλοντικά της πλάνα τρίτροχα υψηλών επιδόσεων και την Honda να δουλεύει πάνω στην ιδέα, φαίνεται ότι οι τρίτροχες μοτοσυκλέτες ήρθαν… για να μείνουν.













