Τα υβριδικά οχήματα δεν αποτελούν κάτι νέο ή καινοτόμο στη ζωή μας. Η τεχνολογία που υιοθετούν υπάρχει εδώ και αρκετά χρόνια στην παγκόσμια αγορά, καθώς ένα μεγάλο μέρος των αυτοκινήτων που κυκλοφορούν είναι υβριδικά. Ο λόγος που αυτή η τεχνολογία δεν έχει περάσει ακόμη στις μοτοσυκλέτες και το γεγονός ότι οι κατασκευαστές προσανατολίζονται στο να περάσουν επιτόπου στην παραγωγή ηλεκτρικών μοτοσυκλετών και όχι υβριδικών, είναι τα χωροταξικά προβλήματα που δημιουργούνται. Συγκεκριμένα, είναι αρκετά δύσκολο με βάση τις διαστάσεις μιας μοτοσυκλέτας να προσθέσει κανείς έναν ακόμη κινητήρα και μια τεράστια σε όγκο και βάρος μπαταρία για την τροφοδοσία του. Ορισμένες εταιρείες, όπως η Vespa, έχουν λύσει το χωροταξικό πρόβλημα και έχουν δημιουργήσει την Elettrica X που έχει δύο κινητήρες, έναν ηλεκτρικό και έναν εσωτερικής καύσης. Όμως, όπως διαβάσατε και παλιότερα στο αναλυτικό άρθρο για την Elettrica, η X έκδοση δεν είναι υβριδική ,όπως μας είχε πει ο Capellini στην παρουσίασή της Elettrica.
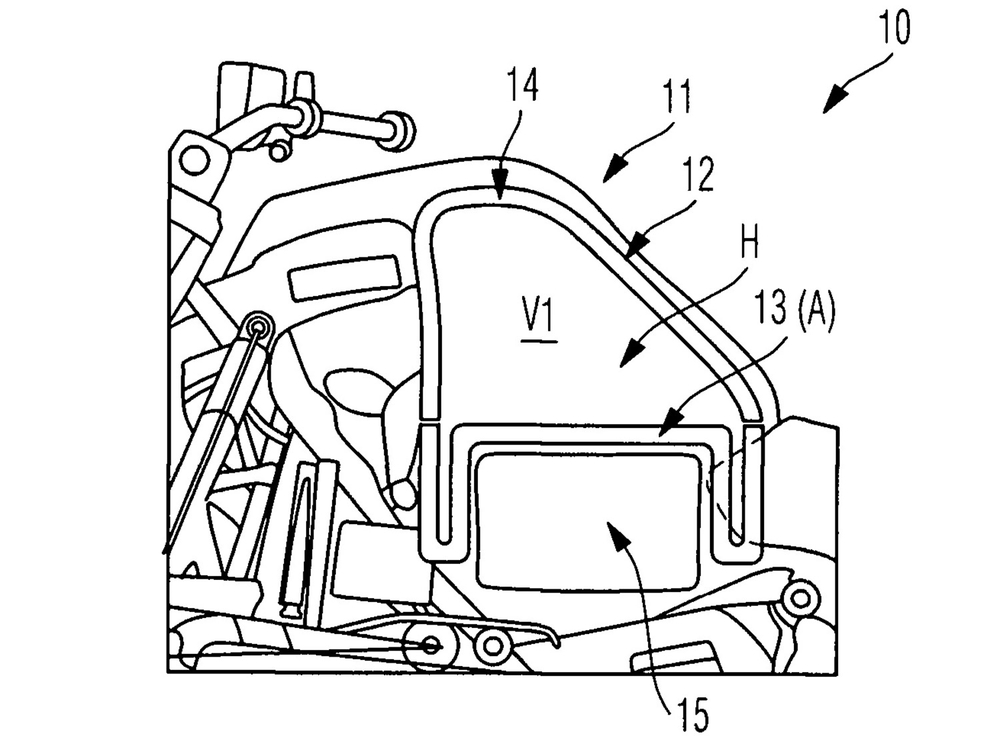
Η BMW απ’ την πλευρά της συνεχίζει να εξετάζει την προοπτική να δημιουργήσει μια υβριδική μοτοσυκλέτα και τώρα κατέθεσε νέες πατέντες, οι οποίες εστιάζουν στη λύση του χωροταξικού προβλήματος της μπαταρίας και όχι στο πού και πώς θα τοποθετεί ο ηλεκτροκινητήρας του οχήματος. Όπως μπορούμε να δούμε στην πρώτη εικόνα, αυτό που παρουσιάζεται στα σχέδιά της είναι ένα ρεζερβουάρ με μεταβλητό σχήμα και ελαστικό κάτω μέρος, που συνεπάγεται και μεταβλητή χωρητικότητα. Στόχος είναι να τοποθετείται κάτω απ’ το ρεζερβουάρ η μπαταρία που θα τροφοδοτεί τον ηλεκτροκινητήρα με ενέργεια. Το γεγονός ότι μπορεί να προσθαφερείται η μπαταρία και να αυξομειώνεται ο όγκος του ρεζερβουάρ έχει πολλά οφέλη. Αρχικά, προσφέρει τη δυνατότητα στον αναβάτη να εγκαθιστά την μπαταρία και να λειτουργεί το όχημα ως υβριδικό χωρίς να επιφορτίζει την ατμόσφαιρα με περισσότερους ρύπους για τις αστικές μετακινήσεις. Βέβαια αυτό είναι ένα μεγάλο θέμα συζήτησης γιατί έχει μεγάλη σημασία ο τρόπος που παράγεται το ρεύμα, που φορτίζει την μπαταρία. Αν φερ’ ειπείν ο ηλεκτρισμός παράγεται από μη ανακυκλώσιμες πηγές ενέργειας, δεν μπορούμε να πούμε πως η υβριδική τεχνολογία βοηθά στη μείωση των ρύπων του περιβάλλοντος.
Το γεγονός ότι ο αναβάτης έχει τη δυνατότητα να αφαιρεί την μπαταρία και ταυτόχρονα να αυξάνει τον όγκο του ρεζερβουάρ δημιουργεί αρκετά πλεονεκτήματα. Πρώτον μειώνεται αισθητά το βάρος του οχήματος και μεταβάλλεται το κέντρο βάρους. Δεύτερον και κυριότερο αυξάνεται η αυτονομία της μοτοσυκλέτας στα ταξίδια και μειώνεται ο χρόνος ανεφοδιασμού. Τρίτον, το γεγονός ότι η μπαταρία βρίσκεται στο χώρο του ρεζερβουάρ σημαίνει πως πιθανότατα δεν θα υπάρξουν δραστικές αλλαγές στην εμφάνιση.
Οι πατέντες όμως δημιουργούν και ορισμένα ερωτήματα όπως το πόσο εύκολη θα είναι η επανατοποθέτηση και η αφαίρεση της μπαταρίας, καθώς και πόσο χρόνο θα απαιτεί. Ακόμη, από τι υλικό θα είναι κατασκευασμένο το ρεζερβουάρ ώστε να έχει μεταβλητό σχήμα και παράλληλα να μην φθείρεται και να μην δημιουργούνται τρύπες. Επίσης, με την αφαίρεση της μπαταρίας ο ηλεκτρικός κινητήρας θα αδρανοποιείται ή η BMW εργάζεται παράλληλα στην αξιοποίησή του μέσω μιας άλλης, μικρότερης μπαταρίας που θα βρίσκεται μόνιμα πάνω στη μοτοσυκλέτα, ούτως ώστε να λειτουργεί επικουρικά ο ηλεκτρικός κινητήρας κι όχι εντελώς αυτόνομα.
Σχετικά με την θέση του ηλεκτρικού κινητήρα οι μόνες εικασίες που μπορούμε να κάνουμε, ενώ δεν αποκλείεται να γίνει και ένας συνδυασμός με βάση κάποιες άλλες πατέντες της BMW που είχε καταθέσει το 2015 και αφορούσαν μάλιστα την κίνηση και στους δύο τροχούς. Τότε, σε συνεργασία με την Wunderlich είχαν παρουσιάσει μια πρωτότυπη μοτοσυκλέτα 2x2 βασισμένη στην R1200GS, που για την κίνηση του μπροστινού τροχού υπεύθυνος ήταν ένας ηλεκτρικός κινητήρας της Bosch στο κέντρο του. Μπορεί λοιπόν να δούμε στο μέλλον μια υβριδική BMW που θα έχει και την δυνατότητα για κίνηση και στον μπροστινό τροχό! Το πότε και το αν θα δούμε τις πατέντες της BMW να περνάνε σε μοντέλα παραγωγής παραμένει άγνωστο, καθώς η κατάθεσή τους γίνεται αρχικά για την κατοχύρωση των δικαιωμάτων, ώστε να μην χρησιμοποιηθούν από άλλα εργοστάσια.





