Η τελευταία τπατέντα της BMW Motorrad αφορά ενεργά αεροδυναμικά βοηθήματα, τα οποία θα κινούνται ανάλογα με την θέση της μοτοσυκλέτας, ενώ με βάση τους ισχύοντες κανονισμούς, θα μπορούσαν να χρησιμοποιηθούν στα Motul WSBK, εφόσον πρώτα τοποθετηθούν στη μοτοσυκλέτα παραγωγής, την οποία θα ομολογκάρουν οι Βαυαροί.
Όπως έχουμε δει, η BMW έχει ήδη κατοχυρώσει πατέντες για φτερά πολλαπλών χρήσεων, τα οποία θα φιλοξενούν πάνω τους φλας, καθρέπτες, φώτα, κ.α. Πρόσφατα είδαμε επίσης, ότι οι Βαυαροί εργάζονται στη δημιουργία περισσότερης κάθετης δύναμης στις μοτοσυκλέτες τους, χωρίς ωστόσο να εξέχει κάτι από τα φαίρινγκ. Τώρα, φέρνουν μία τρίτη πατέντα, η οποία κάνει λόγο για ενεργά αεροδυναμικά φτερά.
Είναι πλέον φανερό ότι τα αεροδυναμικά φτερά έχουν εδραιωθεί για τα καλά στον χώρο των αγώνων, ενώ οι περισσότεροι κατασκευαστές τα έχουν ήδη υιοθετήσει και σε superbike μοτοσυκλέτες τους ευρείας παραγωγής, που δεν προορίζονται να λάβουν έγκριση τύπου για συμμετοχή στα Motul WSBK. Τα αεροδυναμικά βοηθήματα, είναι γενικότερα ένας εύκολος και οικονομικός τρόπος για να βελτιώσει κάποιο εργοστάσιο την απόδοση της μοτοσυκλέτας του, όπως είπε και ο Albesiano.

Τα συμβατικά αεροδυναμικά φτερά, όμως, έχουν όπως είναι λογικό και κάποια μειονεκτήματα, εκτός από πλεονεκτήματα. Ο τρόπος που ασκούν πίεση και αυξάνουν την κάθετη δύναμη από τον αέρα είναι απλός, καθώς η μεγαλύτερη επιφάνεια που προσφέρουν στο μπροστινό τμήμα της μοτοσυκλέτας ωθεί μεγαλύτερη ποσότητα αέρα να πιέσει την μοτοσυκλέτα κάτω. Όταν μιλάμε για δυνατές επιταχύνσεις και επιβραδύνσεις, τότε δεν υπάρχει κανένα πρόβλημα. Όταν, όμως, η μοτοσυκλέτα βρίσκεται υπό κλίση, τότε ο αναλογικός τρόπος που λειτουργούν τα αεροδυναμικά φτερά δημιουργεί διαφορές πίεσης στην εσωτερική και εξωτερική πλευρά. Μία κάποια λύση είναι αυτό που κάνουν στα MotoGP, κατασκευάζοντας φαίρινγκ που εκμεταλλεύονται το ground effect.

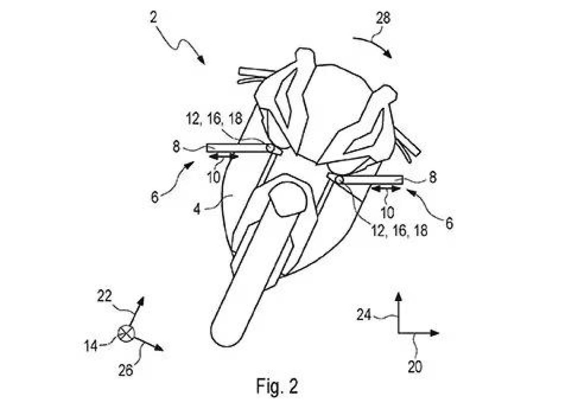
Η BMW στην τελευταία της πατέντα προτείνει μία άλλη, πιο απλή λύση. Τα φτερά να βρίσκονται οριζόντια με το έδαφος, κάθε στιγμή, ακόμα και όταν η μοτοσυκλέτα είναι πλαγιασμένη. Κάτι τέτοιο, βέβαια θα ήταν αυτομάτως παράνομο στη “Μέκκα” των αεροδυναμικών βοηθημάτων, τα MotoGP, όπου γίνεται και η πιο έντονη έρευνα και εξέλιξη πάνω σε αυτά. Οι κανονισμοί της υψηλότερης μορφής μηχανοκίνητου αθλητισμού με μοτοσυκλέτα επιτάσσουν τα αεροδυναμικά βοηθήματα να μένουν σταθερά. Αυτό σημαίνει ότι δεν μπορούν να συνδέονται με το φαίρινγκ με τέτοιο τρόπο που να είναι εφικτή η ρύθμισή τους ανάλογα τις συνθήκες, όπως για παράδειγμα μέσω συνδέσμων. Η μόνη παραμόρφωση που επιτρέπουν είναι της τάξης των 10 χιλιοστών σε οποιοδήποτε σημείο, όταν η μοτοσυκλέτα βρίσκεται σε κατάσταση λειτουργίας και εφαρμόζονται πάνω τους κάθετο φορτίο 50N (newton) από ατσάλινο σφαιρικού σχήματος αντικείμενο 20 χιλιοστών.
Οπότε, όπως καταλαβαίνετε, οι κατασκευαστές που συμμετέχουν στα MotoGP, δεν έχουν ασχοληθεί ιδιαίτερα με τα ενεργά βοηθήματα, προτιμώντας να ρίξουν τα λεφτά του R&D τους σε πράγματα που μπορούν να εφαρμόσουν εκεί. Η BMW δεν ανήκει σε αυτούς, έχοντας επιλέξει το Παγκόσμιο Πρωτάθλημα SBK για να αγωνίζεται. Εκεί, οι κανόνες είναι αρκετά διαφορετικοί, δηλώνοντας ξεκάθαρα ότι τα ενεργά αεροδυναμικά βοηθήματα είναι νόμιμα, αν κάποιος κατασκευαστής θέλει να τα χρησιμοποιήσει. Μόνη προϋπόθεση, είναι να ανήκουν στον βασικό εξοπλισμό της πολιτικής μοτοσυκλέτας, πάνω στην οποία θα βασιστεί το αγωνιστικό πρωτότυπο. Μάλιστα, το εύρος κίνησης των φτερών θα πρέπει να ανταποκρίνεται σε αυτό που υπάρχει στη μοτοσυκλέτα παραγωγής και δεν επιτρέπεται να αλλάξει.

Ο κανονισμός αυτός, αποτελεί για την ώρα γκρίζα ζώνη, καθώς κανένας κατασκευαστής δεν έχει μέχρι στιγμής χρησιμοποιήσει ενεργά αεροδυναμικά φτερά στις πολιτικές του μοτοσυκλέτες -πλην της Moto-Guzzi με το Mandello όπου όμως εκεί κύριος στόχος είναι η εκτροπή του αέρα από τον αναβάτη για την άνεση του, και όχι η ενίσχυση του φαινομένου downforce. Επομένως, δεν υπάρχουν αντίστοιχα ούτε και στα Motul WSBK, με το συγκεκριμένο παραθυράκι να έχει μείνει αναξιοποίητο μέχρι στιγμής. Δεν σημαίνει ότι δεν έχουν υπάρξει έρευνες πάνω στο συγκεκριμένο θέμα. Ήδη από το 2019 η Honda είχε καταθέσει πατέντες για ενεργά φτερά, τα οποία θα μαζεύονταν και θα εκτείνονταν, σύμφωνα με το τι χρειάζεται κάθε δεδομένη στιγμή. Αυτά, όμως, έκαναν στην ουσία την ίδια δουλειά με τα σταθερά φτερά, δίνοντας έως ένα βαθμό το πλεονέκτημα στις ευθείες, χωρίς όμως να αλλάζουν κάτι στις στροφές. Από την μεριά της, η πατέντα της BMW ασχολείται κυρίως με το συγκεκριμένο κομμάτι, όταν δηλαδή η μοτοσυκλέτα βρίσκεται υπό κλίση. Όπως βλέπουμε τα φτερά συνδέονται μέσω αρθρώσεων με πομπούς, οι οποίο τα κρατάνε σε οριζόντια θέση όσο η μοτοσυκλέτα πλαγιάζει.
Οι εν λόγω πατέντες έχουν ως κύριο στόχο να κατοχυρώσουν τα πνευματικά δικαιώματα της BMW στο συγκεκριμένο σχέδιο. Οπότε, τα σχέδια δεν περιλαμβάνουν περισσότερες πληροφορίες σχετικά με τα μηχανικά ή ηλεκτρονικά συστήματα που απαιτούνται για τη λειτουργία των φτερών. Το πιο πιθανό είναι να εκμεταλλευτούν την μονάδα IMU, η οποία αποτελεί πλέον αναπόσπαστο κομμάτι των superbike, με την εξέλιξή τους να είναι ραγδαία. Από τη στιγμή που ήδη μετράνε τις μοίρες κλίσης μίας μοτοσυκλέτας για το traction control και το cornering ABS, δεν θα είναι ιδιαίτερα δύσκολή, αλλά ούτε και ακριβή σε κόστος, η δημιουργία του κατάλληλου λογισμικού για την κίνηση των φτερών. Η τεχνολογία της παραμονής ενός εξαρτήματος στον οριζόντιο άξονα δεν είναι κάτι πρωτόγνωρο, καθώς χρησιμοποιείται εδώ και χρόνια στις κάμερες οι οποίες έχουν γυροσκόπια, κάμερες που έχουν βρει τον δρόμο τους για τη μαζική παραγωγή, κάμερες που έχουμε και στο ΜΟΤΟ. Έτσι πολλές φορές, βλέπουμε στον αγώνα αναβάτη να έχει πλαγιάσει στις 60°, ενώ η γυροσκοπική on-board κάμερα παραμένει στον οριζόντιο άξονα, δίνοντας εικόνα ανάλογη με ενός εξωτερικού παρατηρητή.

Η κατοχύρωση της πατέντας δεν σημαίνει αυτομάτως ότι θα δούμε σύντομα ενεργά φτερά στις μοτοσυκλέτες της BMW. Δείχνει, όμως, ότι οι μηχανικοί της δεν επαναπαύονται και ψάχνουν συνεχώς λύσεις, που θα δώσουν το κάτι παραπάνω στους αγώνες. Δύο ζητήματα που θα καθορίσουν το αν θα δούμε κάτι αντίστοιχο στην παραγωγή είναι το κόστος κατασκευής και η αναπόφευκτη αύξηση του βάρους που θα φέρει ο παραπάνω όγκος. Γιατί είναι διαφορετικό όταν μιλάμε για δύο συμβατικά φτερά που απλώς βρίσκονται πάνω στη μοτοσυκλέτα και εντελώς διαφορετική συνθήκη είναι όταν προστίθενται μηχανισμοί και κινούμενα μέρη. Το βάρος παίζει μεγάλο ρόλο στους αγώνες και ο μόνος τρόπος για να θυσιάσουν ακόμα και κάποια γραμμάρια οι κατασκευαστές, είναι αυτή η επιπλέον μάζα να έχει περισσότερα πλεονεκτήματα, απ’ ό,τι μειονεκτήματα.
Σε κάθε περίπτωση, αν η BMW αποφασίσει να χρησιμοποιήσει ένα τέτοιο σύστημα, τότε σίγουρα θα το δούμε και στην M 1000 RR, την μοτοσυκλέτα που ομολογκάρει για τη συμμετοχή της στα Motul WSBK. Αν τώρα η BMW λάβει την έγκριση για κατοχύρωση της πατέντας, τότε οι υπόλοιποι κατασκευαστές θα αντιμετωπίσουν πρόβλημα, αν αποφασίσουν να χρησιμοποιήσουν και αυτοί κάποιου είδους ενεργητικά φτερά. Είτε θα πρέπει να δημιουργήσουν ένα δικό τους διαφορετικό σύστημα, είτε θα πρέπει να πληρώσουν την BMW για να τους επιτρέψει να χρησιμοποιήσουν τα σχέδιά της. Όπως φαίνεται οι Βαυαροί, προτιμούν να δέσουν τον γάιδαρο τους, παρά να τον αφήσουν να χαθεί στην αχανή έκταση των αγώνων, ψάχνοντας μετά λύσεις.

